Mannhardt Ice, LLC

1100 Falls Road
Grafton WI 53012
920-467-1027
Email Mannhardt Ice


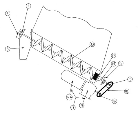
#8751 Ice Dispenser Series Parts Identification


Parts Diagram

8751-3 Complete Front Dispenser Spout
8751-4 Ice Spout Bearing Cover
8751-11 Ice Spout Bearing Assembly Only
8751-12 Back Drive Shaft Bearing Assembly Only (Ext.)
8751-13 Stainless Steel Helicoid Complete
8751-14 Stainless Steel Drive Shaft (Through Back Wall)
8751-15 Helicoid Drive Chain Sprocket
8751-16 Motor Drive Chain Sprocket
8751-17 1/2 H.P. Motor-Complete (Gear Box & Motor)
8751-17A 1/2 H.P. Motor Only (No Gear Box)
8751-17B Gear Box Only
8751-17AA5 50 Cycle Motor Only (1/2 H.P.)
8751-17A75 3/4 H.P. Motor Only
8751-17B75 High Speed Gear Reducer
8751-18 Roller Chain and Connecting Link
8751-24 Bronze Shaft Bushing (Through Back Wall)